5.3
带电粒子在匀强磁场中的圆周运动(1)

课程标准 | 1.会计算带电粒子在匀强磁场中圆周运动半径。 2.会计算电粒子在匀强磁场中的圆周运动周期,理解周期和速度无关。 3.理解质谱仪和回旋加速器的原理和应用。 |
物理素养 | 物理观念:建立带电粒子在匀强磁场中做圆周运动的观念。 科学思维:运用洛伦兹力充当向心力,分析带电粒子在磁场中的运动规律。 科学探究:探究质谱仪中粒子位置由什么因素决定。 科学态度与责任:通过质谱仪和回旋加速器的应用,体会科学技术对社会发展的促进作用。 |



1. 带电粒子在磁场中运动轨迹规律
实验观察:励磁线圈中观察带电粒子在匀强磁场中做圆周运动。



动力学原因:粒子所受洛伦兹力充当向心力,粒子做圆周运动。
讨论:带电粒子(不计重力)以一定的速度v进入磁感应强度为B的匀强磁场中:
(1)当v∥B时,带电粒子将做匀速直线运动;
(2)当v⊥B时,带电粒子将做匀速圆周运动;
B不变,v增大时r增大;v不变,B增大时r变小。
(3)当v与B的夹角为θ(θ ≠0°,90°,180°)时,带电粒子将做等螺距的螺旋线运动。
即沿磁场平行方向的匀速直线运动和垂直于磁场方向的匀速圆周运动的叠加。

比较:电场和磁场都能对带电粒子施加影响。
在匀强电场中只受电场力作用下,可能做匀变速直线或曲线运动,但不可能做匀速直线运动;
在匀强磁场中只受磁场力作用下,可以做匀速直线运动、曲线运动。但不可能做变速直线运动。
2. 带电粒子在匀强磁场中的圆周运动的半径和周期
如图所示,带电粒子以速度v垂直磁场方向入射,在磁场中做匀速圆周运动,
设带电粒子的质量为m,所带的电荷量为q。


(a)正电荷 (b)负电荷
(1)轨道半径:由于洛伦兹力提供向心力,则有
,得到轨道半径
。
即在匀强磁场中,做匀速圆周运动的带电粒子,其轨道半径跟运动速率成正比。
(2)周期:由轨道半径与周期之间的关系
可得周期:
。
即在匀强磁场中做匀速圆周运动的带电粒子的周期T与轨道半径r和运动速率v均无关,
而与比荷
成反比。
例1. 如图所示为洛伦兹力演示仪的结构图。励磁线圈产生的匀强磁场方向垂直于纸面向外,电子束由电子枪产生,其速度方向与磁场方向垂直。电子速度大小可通过电子枪的加速电压来控制,磁场强弱可通过励磁线圈的电流来调节。下列说法正确的是( )

A.仅增大励磁线圈的电流,电子束轨迹的半径变大
B.仅提高电子枪的加速电压,电子束轨迹的半径变大
C.仅增大励磁线圈的电流,电子做圆周运动的周期将变大
D.仅提高电子枪的加速电压,电子做圆周运动的周期将变大
【答案】B
【解析】电子在加速电场中加速,由动能定理有eU=2mv2,电子在匀强磁场中做匀速圆周运动,
洛伦兹力提供向心力,有eBv=mr,解得r=eB=Be,则周期 T=v=eB。
若仅增大励磁线圈的电流,电流产生的磁场B增强,则r减小,T变小,故A、C错误;
若仅提高电子枪的加速电压,电子速度增大,则r变大,T不变,故B正确,D错误。
例2.一个质量为 1.67×10-27kg、电荷量为 1.6×10-19C 的带电粒子,以 5×105m/s 的初速度沿与磁场垂直的方向射入磁感应强度为 0.2 T 的匀强磁场。求:
(1)粒子所受的重力和洛伦兹力的大小之比;
(2)粒子在磁场中运动的轨道半径;
(3)粒子做匀速圆周运动的周期。
【答案】(1)
(2)
(3)
【详解】(1)粒子所受的重力:G =mg=1.67×10-27×9.8 N = 1.64×10-26N
所受的洛伦兹力:F=qvB = 1.6×10-19×5×105×0.2N = 1.6×10-14N
重力与洛伦兹力之比:
可见,带电粒子在磁场中运动时,洛伦兹力远大于重力,重力作用的影响可以忽略。
(2)带电粒子所受的洛伦兹力为:F = qvB 洛伦兹力提供向心力,故 
由此得到粒子在磁场中运动的轨道半径:
(3)粒子做匀速圆周运动的周期:
3. 洛伦兹力的应用
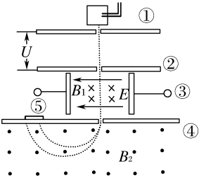
(1)质谱仪
质谱仪是用来测量微观粒子的质量,分析同位素。质谱仪结构示意图如图所示:

①带电粒子注入器:产生带电粒子
②加速电场 (U):可由动能定理计算加速后速度。
③速度选择器 (B1、E):只有所受洛伦兹力和电场力二力平衡的那些粒子才能通过。
qE=qvB1,由此得出v=
④偏转磁场 (B2) :在磁场中只受洛伦兹力的作用,粒子在洛伦兹力作用下沿半圆轨迹运动。
圆周运动的轨道半径公式:
代入上式的v得到:
⑤质谱仪底片:记录偏转后离开磁场的位置
由以上分析可知:m是r的函数,测出r即可测出m,r可通过底片上谱线到缝之间的距离来计算。
不同质量的粒子打在质谱仪底片上的位置就按质量大小的顺序排列,类似于光谱,所以叫做质谱仪。
注意:经过速度选择器选出来的粒子速度相等,解题时注意此条件是否满足。
(2)回旋加速器
研究原子核的结构时,需要用高能量的微观粒子去轰击原子核。
回旋加速器就是加速带电粒子的仪器,结构示意图如下。

①磁场的作用:在洛伦兹力作用下使粒子做匀速圆周运动。
②交变电场的作用:使带电粒子经过D1和D2的缝隙该区域时被加速。
③交变电场的作用及变化周期:交变电压的周期和粒子圆周运动周期相等。
④两类问题:
a.计算最大速度:粒子加速可达到的最大速度v=
代入周期公式得:v=
。
b.计算加速时间:
方法1:盒间距已知,vm=at,分别求出最大速度和加速度,计算时间。
方法2:由最大速度计算粒子动能,除以每次加速的Uq得到加速次数,乘以周期T。
例3. 质谱仪原理如图所示,a为粒子加速器,电压为U1;b为速度选择器,磁场与电场正交,磁感应强度为B1,板间距离为d;c为偏转分离器,磁感应强度为B2。今有一质量为m、电荷量为+e的正电子(不计重力),经加速后,该粒子恰能通过速度选择器,粒子进入分离器后做半径为R的匀速圆周运动。求:

(1)粒子射出加速器时的速度v为多少?
(2)速度选择器的电压U2为多少?
(3)粒子在B2磁场中做匀速圆周运动的半径R为多大?
【答案】(1)
(2)
(3)
【解析】(1)动能定理有 qU1=
得:v=
(2)在b中,e受的电场力和洛伦兹力大小相等,即:
带入v值得到:
(3)在c中,e受洛伦兹力作用而做圆周运动,回转半径为R=
带入v值得到:
例4.回旋加速器在科学研究中得到了广泛应用,其原理如图所示.
和
是两个中空的半圆形金属盒,置于与盒面垂直的匀强磁场中,它们接在电压为U、周期为T的交流电源上。位于
圆心处的质子源A能不断产生质子(初速度可以忽略),它们在两盒之间被电场加速.当质子(电量为
)被加速到最大动能
后,再将它们引出.忽略质子在电场中的运动时间,则下列说法中正确的是( )

A.若只增大交变电压U,则质子的最大动能
会变大
B.若只增大交变电压U,则质子在回旋加速器中运行时间会变短
C.若只将交变电压的周期变为2T,仍可用此装置加速质子
D.质子运动一圈,动能增加eU
【答案】B
【详解】A.回旋加速器是通过电场进行加速,磁场进行偏转来加速带电粒子。
根据
则最大动能
与加速电压无关,故A错误;
B.若只增大交变电压U,则质子在回旋加速器中加速次数会减小,导致运行时间变短,故B正确;
C.带电粒子在磁场中运动的周期与交流电源的周期相同,若只将交变电压的周期变为2T,而质子在磁场中运动的周期不变,则两周期不同,所以质子不能被加速,故C错误;
D.质子运动一圈,会经过加速电场两次,动能增加2eU,故D错误。
故选B。
题型01 定性分析半径、周期、时间的关系
例5.如图所示,圆形区域内有垂直纸面的匀强磁场,三个质量和电荷量相同的带电粒子a、b、c,以不同的速率对准圆心O沿着AO方向射入磁场,其运动轨迹如图。若带电粒子只受磁场力的作用。则下列说法正确的是( )

A.a粒子动能最大 B.c粒子速率最大
C.b粒子在磁场中运动时间最长 D.它们做圆周运动的周期Ta<Tb<Tc
【答案】B
【解析】 圆周运动半径
周期
粒子在磁场中运动时间 
由题图可知c粒子运动半径最大,速率最大,动能最大;a粒子转过的圆心角最大,在磁场中运动的时间最长;三个粒子做圆周运动的周期相等。综上所述可知ACD错误,B正确。故选B.
例6.(多选)两个质量和电荷量均相同的带电粒子a、b,分别以速度v和2v垂直射入同一匀强磁场,其运动半径分别为ra和rb,运动的周期分别为Ta和TB.不计粒子重力,则( )
A.ra>rb B.ra<rb C.Ta>Tb D.Ta=Tb
【答案】BD
【解析】粒子在匀强磁场中受到的洛伦兹力提供向心力,做匀速圆周运动,有qvB=m
,
解得r=
, T=
=
;两粒子的质量和电荷量均相同,但b粒子的速度大于a粒子的速度,
则有ra<rb,Ta=Tb, B、D正确,A、C错误。
题型02 定量分析半径、周期、时间
例7.(多选)一个带电粒子在磁感应强度为B的匀强磁场中做匀速圆周运动。如果该粒子又垂直进入另一磁感应强度为2B的匀强磁场,则( )
A.粒子的速率加倍,周期减半 B.粒子的速率不变,周期减半
C.粒子的速率不变,轨迹半径减半 D.粒子的速率减半,轨迹半径变为原来的
【答案】BC
【解析】带电粒子在磁场中运动,洛伦兹力不做功,所以粒子垂直进入另一磁感应强度是原来2倍的匀强磁场时,运动速率不变,选项A、D错误;
由T=
可知,m、q不变,磁感应强度是原来的2倍,则粒子运动的周期减半,选项B正确;
由R=
可知,m、q不变,磁感应强度是原来的2倍,则粒子运动的轨迹半径减半,选项C正确。
题型03 质谱仪
例8.图为质谱仪的示意图。速度选择器的匀强电场强度 E为 1.2×105N/C,匀强磁场的磁感强度 B1为 0.6 T(电场方向与磁场方向相互垂直)。偏转分离器的磁感应强度 B2为 0.8 T。(已知质子质量为 1.67×10−27 kg,元电荷的电荷量为 e= 1.60×10−19C)试求:
(1)能通过速度选择器的粒子速度的大小;
(2)如质子和氘核以相同速度进入偏转分离器,试求在质谱仪底片上收集到的条纹之间的距离d;
(3)求质子和氘核在磁场中运动的时间。

【答案】(1)
;(2)
;(3)
;
【解析】(1)能通过速度选择器的粒子,所受电场力与洛伦兹力平衡,有
解得
(2)质子和氘核的电荷量相等,质量不同,以相同速度进入偏转分离器,均做匀速圆周运动,
有
解得
则有
可知在质谱仪底片上收集到的条纹之间的距离为
(3)根据前面分析可知带电粒子在磁场中运动的时间为
质子和氘核在磁场中运动的时间分别为
题型04 求回旋加速器中粒子的最大速度和加速时间
例9.上海光源的核心之一是加速电子的回旋加速器,如图所示,两个D形金属盒分别和某高频交流电源两极相接,两盒放在磁感应强度为B的匀强磁场中,磁场方向垂直于盒底面向下,电子源置于盒的圆心附近。已知电子的初速度不计,质量为m,电荷量大小为e,最大回旋半径为R,普朗克常量为h。则

(1)电子加速后获得的最大速度vm= ;
(2)已知两D形盒间加速电场的电势差大小恒为U,盒间窄缝的距离为d,其电场均匀,求电子在电场中加速所用的总时间t。
【答案】
,
【解析】(1)D型盒最大回旋半径为R,则电子做圆周运动的最大半径为R,则
电子加速后获得的最大速度
(2)等效匀加速直线运动:电子在电场中加速度大小不变,尽管电子在电场中往返运动,
但可以看做电子做初速度为零的匀加速运动,所以电子在电场中运动的时间为:

解得
1. 如图所示,带电粒子(不计重力)以速度v沿垂直于磁场的方向进入一匀强磁场,在磁场中做匀速圆周运动。设粒子做匀速圆周运动的轨迹半径为R,周期为T。如果仅增大粒子的入射速度v,下列说法正确的是( )

A.R增大 B.R减小 C.T增大 D.T减小
【答案】A
【解析】粒子在匀强磁场中做匀速圆周运动,洛伦兹力充当向心力,则有qvB=m
,解得R=
,
故增大粒子的入射速度时,半径R增大,选项A正确,B错误;
根据T=
可得T=
,知周期和速度无关,增大入射速度时,周期不变,选项C、D错误。
2.质子和α粒子以相同的速率在同一匀强磁场中做匀速圆周运动,轨迹半径分别为R1和R2,周期分别为T1和T2,则下列选项正确的是( )
A.R1∶R2=1∶2 T1∶T2=1∶2 B.R1∶R2=1∶1 T1∶T2=1∶1
C.R1∶R2=1∶1 T1∶T2=1∶2 D.R1∶R2=1∶2 T1∶T2=1∶1
【答案】A
【解析】质子和α粒子以相同的速率在同一匀强磁场中做匀速圆周运动,
轨迹半径为R=
,和粒子的质量与电荷量的比值成正比,故R1∶R2=1∶2;
周期T=
,和粒子的质量与电荷量的比值成正比,故T1∶T2=1∶2,选项A正确。
3.正电子是电子的反粒子,与电子质量相同、带等量正电荷。在云室中有垂直于纸面的匀强磁场,从P点发出两个正电子和一个电子,三个粒子运动轨迹如图中1、2、3所示。下列说法正确的是( )

A.磁场方向垂直于纸面向里B.轨迹1对应的粒子运动速度越来越大
C.轨迹2对应的粒子初速度比轨迹3的大D.轨迹3对应的粒子是正电子
【答案】D
【详解】AD.根据题图可知,1和3粒子绕转动方向一致,则1和3粒子为正电子,2为电子,电子带负电且逆时针转动,根据左手定则可知磁场方向垂直纸面向外,故A错误,D正确;
B.带电粒子在云室中运行,洛伦兹力不做功,而粒子受到云室内填充物质的阻力作用,粒子速度越来越小,故B错误;
C.带电粒子若仅在洛伦兹力的作用下做匀速圆周运动,粒子运动的半径为
根据题图可知轨迹3对应的粒子运动的半径更大,速度更大,粒子运动过程中受到云室内物质的阻力的情况下,此结论也成立,故C错误。
故选D。
4. 如图所示,MN是匀强磁场中的一块薄金属板,带电粒子(不计重力)在匀强磁场中运动并穿过金属板,粒子速率变小,实线表示其运动轨迹,由图知( )

A.粒子带正电 B.粒子的运动方向是edcba
C.粒子的运动方向是abcde D.粒子在上半周所用时间比下半周所用时间长
【答案】B
【解析】带电粒子穿过金属板后速率变小,根据半径公式r=
,可知粒子的运动半径将减小,故粒子应是由下方穿过金属板,故粒子的运动方向为edcba;根据左手定则可知,粒子带负电,选项A、C错误,B正确。由T=
可知,粒子运动的周期和速度无关,故穿过金属板后周期不变;而上下均为半周,故所对应的圆心角相同,粒子在上半周与下半周的运动时间均为
,选项D错误。
5. 如图所示,一束质量、速度和电荷量不全相等的离子,经过由正交的匀强电场和匀强磁场组成的速度选择器后,进入另一个匀强磁场中并分裂为A、B两束,下列说法中正确的是( )

A.组成A束和B束的离子都带负电 B.组成A束和B束的离子质量一定不同
C.速度选择器中的磁场方向垂直纸面向外 D.A束离子的比荷大于B束离子的比荷
【答案】D
【解析】离子进入上面磁场时,速度方向向上,洛伦兹力方向向左,可判断A束和B束的离子都带正电,选项A错误。
对于沿直线经过速度选择器的离子,有qvB1=qE,可得v=
,组成A束和B束的离子的速度大小相等;进入上面磁场后,有qvB2=m
,得r=
,因为rA<rB,vA=vB,所以
>
;又知离子的质量、速度和电荷量不全相等,故组成A束和B束的离子质量可能相等、可能不等,选项B错误、D正确。
速度选择器左板带正电,右板带负电,则电场方向向右,离子带正电,则所受电场力的方向向右,故洛伦兹力方向向左,据左手定则可判断出磁场方向垂直纸面向里,选项C错误。
6.(多选)有一方向竖直向下的匀强磁场垂直于光滑绝缘水平面,如图所示(俯视图)。在A处静止放置一个不带电的金属球a,另一来自坐标原点的运动金属球b恰好沿y轴正方向撞向a球。碰撞后,关于两球的运动情景,可能正确的是( )


【答案】AD
【解析】b从原点运动到A点,且向上撞击a,可判断出金属球b运动轨迹凹侧向上,即受洛伦兹力向上,所以b带正电,受到水平方向的洛伦兹力作用沿逆时针方向做匀速圆周运动。
与a球碰撞后,两球都带上了正电,它们的速度可能同向,运动轨迹可能如A项图所示;
两球速度方向还可能相反,运动轨迹可能如D项图所示。所以AD正确。
7.(多选)如图所示,分界线MN上下两侧有垂直纸面的匀强磁场,磁感应强度分别为B1和B2。一质量为m、电荷量为q的带电粒子(不计重力)从O点,以一定的初速度v0沿纸面垂直MN向上射出,经时间t又回到出发点O,形成了图示心形轨迹,则()

A.粒子一定带正电荷
B.MN上、下两侧的磁场方向相同
C.MN上、下两侧的磁感应强度的大小B1∶B2=1∶2
D.时间t=
【答案】BD
【解析】题中未给出磁场的方向和粒子绕行的方向,所以不能判定粒子所带电荷的正负,A错误;
粒子越过磁场的分界线MN时,洛伦兹力的方向没有变,可知MN上下两侧的磁场方向相同,B正确;设MN上方的轨迹半径是r1,下方的轨迹半径是r2,根据几何关系可知r1∶r2=1∶2;洛伦兹力充当粒子做圆周运动的向心力,有qv0B=m
,解得B=
,所以B1∶B2=r2∶r1=2∶1,C错误。
由题图知,时间t=T1+
=
+
,由B1∶B2=2∶1得t=
,选项D正确。
8. 如图所示,空间有磁感应强度为
,方向竖直向上的匀强磁场,一束电子流以初速
从水平方向射入,为了使电子流经过磁场时不偏转(不计重力),则在磁场区域内必须同时存在一个匀强电场,这个电场的场强大小与方向应是( )

A.
,方向竖直向上 B.
,方向水平向左
C.
,垂直纸面向里 D.
,垂直纸面向外
【答案】C
【解析】v=
,所以E=Bv;洛伦兹力垂直于纸面向里,所以电场力垂直于纸面向外,电子带负电,所以电场方向垂直纸面向里,C正确。
9. 如图所示,有一混合正离子束先后通过正交电场、磁场区域Ⅰ和匀强磁场区域Ⅱ,如果这束正离子束在区域Ⅰ中不偏转,进入区域Ⅱ后偏转半径又相同,则说明这些正离子具有相同的( )

A. 动能 B. 质量 C. 电荷量 D. 比荷
【答案】D
【解析】经过正交电磁场I不偏转,则速度v相对,又在II中半径
相等,所以比荷相等。
10.质子(p)和
粒子以相同的速率在同一匀强磁场中做匀速圆周运动,轨道半径分别为
和
,周期分别为
和
,则下列选项正确的是( )
A.
∶
=1∶2,
∶
=1∶2 B.
∶
=1∶1,
∶
=1∶1
C.
∶
=1∶1,
∶
=1∶2 D.
∶
=1∶2,
∶
=1∶1
【答案】A
【提示】由圆周运动r和T公式导出。
11.粒子甲的质量与电荷量分别是粒子乙的4倍与2倍,两粒子均带正电,让它们在匀强磁场中同一点以大小相等、方向相反的速度开始运动。已知磁场方向垂直纸面向里。以下四个图中,能正确表示两粒子运动轨迹的是( )

【答案】A
【解析】比荷(荷质比)=1:2,则r1:r2=2:1,圆周运动方向相反,A正确。
12.(多选)有两个匀强磁场区域Ⅰ和Ⅱ,Ⅰ中的磁感应强度是Ⅱ中的k倍,两个速率相同的电子分别在两磁场区域做圆周运动,与Ⅰ中运动的电子相比,Ⅱ中的电子( )
A.运动轨迹的半径是Ⅰ中的k倍 B.加速度的大小是Ⅰ中的k倍
C.做圆周运动的周期是Ⅰ中的k倍 D.做圆周运动的角速度与Ⅰ中的相等
【答案】AC
【解析】A. B1:B2=k,由公式
,
知,r与B成反比,所以r1:r2=1:k,A正确;
B. 加速度a=
,与r成反比,所以a1:a2=k,B错误;
C. 周期 T与B成反比,所以T1:T2=1:k,C正确;
D. 角速度与T成反比,所以ω1:ω2=k,D错误。
13. 一个用于加速质子(电荷量为
,质量为
)的回旋加速器,其
形盒半径为
,垂直
形盒底面的匀强磁场的磁感应强度为
,接在
形盒上的高涉电源频率为
。下列说法正确的是( )

A.质子被加速后的最大速度不可能超过
B.质子被加速后的最大速度与加速电场的电压大小有关
C.质子在回旋加速器中的运动时间与加速电场的电压大小无关
D.不需要改变任何量,这个装置也能用于加速
粒子
【答案】A
【解析】A.根据
可知最大半径为
,且电场变化的周期即为粒子在磁场中运动周期,所以最大速度不可能起过
,A正确;
B.根据
得,粒子的最大速度
则最大动能 
知增大动能,需增大
形盒的半径,或增大磁感应强度,与加速电场电压无关,B错误;
C.根据
可知
增加,加速次数
减少,而 
不变,所以
与
有关,C错误;
D.若是
粒子,则粒子的比荷发生变化,所以周期也变化,因此不能用这个装置,D错误。
14.(多选)如图是医用回旋加速器示意图,其核心部分是两个D形金属盒,两金属盒置于相同的匀强磁场中,并分别与高频电源相连。现分别加速氘核(H)和氦核(He)。下列说法中正确的是( )

A.它们的最大速度相同
B.它们的最大动能相同
C.它们在D形盒中运动的周期相同
D.仅增大高频电源的频率可增大粒子的最大动能
【答案】AC
【解析】A. 由qvB=
,可得最大速度v=
,由于氘核(H)和氦核(He)的比荷相等,v相等,A正确;
B. 最大动能 Em=
,比荷相等,q不等,所以最大动能不等,B错误;
C. 在D形盒内运动周期T=
,二者比荷相等,运动的周期相同,C正确;
D. 增大高频电源的频率,不能增大粒子的最大动能,选项D错误。
15.(多选)如图所示是质谱议的工作原理示意图。带电粒子被加速电场加速后,进入速度选择器。速度选择器内相互正交的匀强磁场和匀强电场的强度分别为B和E。平板S上有可让粒子通过的狭缝P和记录粒子位置的胶片A1A2。平板S下方有强度为B0的匀强磁场。下列表述正确的是( )

A.质谱仪是分析同位素的重要工具
B.速度选择器中的磁场方向垂直纸面向外
C.能通过狭缝P的带电粒子的速率等于E/B
D.粒子打在胶片上的位置越靠近狭缝 P,粒子的荷质比越小
【答案】ABC
【解析】A项,同位素化学性质相同,可用质谱仪是分析同位素,故A正确。
B项,粒子在电场中加速,说明粒子带正电。其通过速度选择器时,电场力与洛伦兹力平衡,
则洛伦兹力方向应水平向左,由左手定则知,磁场的方向应垂直纸面向外,故B正确。
C项,由Eq=Bqv可知,v=
故C正确
D项,粒子运动直径D=2R=
可知,粒子打在胶片上的位置越靠近狭缝P,意味着D越小,
那么比荷越大,故D错误。
16.关于下列四幅图的说法正确的是( )

A.图甲是用来加速带电粒子的回旋加速器的示意图,要想粒子获得的最大动能增大,可增加电压U
B.图乙是磁流体发电机的结构示意图,可以判断出B极板是发电机的正极,A极板是发电机的负极
C.图丙是速度选择器的示意图,带电粒子(不计重力)能够沿直线匀速通过速度选择器的条件是
Eq=qvB,即
D.图丁是质谱仪的结构示意图,粒子打在底片上的位置越靠近狭缝S3说明粒子的比荷越小
【答案】B
【详解】A.甲图中,根据
可知
粒子获得的最大动能为
所以要想粒子获得的最大动能增大,可增加D形盒的半径R和增大磁感应强度B,增加电压U不能增大最大动能,故A错误;
B.乙图中根据左手定则,正电荷向下偏转,所以B极板带正电,为发电机的正极,A极板是发电机的负极,故B正确;
C.丙图中,带电粒子电子从右向左运动通过复合场时,电场力和洛伦兹力方向同向,粒子不会做直线运动,所以不是速度选择器,故C错误;
D.由
可得
知粒子打在底片上的位置越靠近狭缝S3,说明比荷越大,D错误。
故选B。
17.回旋加速器的工作原理如图所示,置于高真空中的D形金属盒半径为R,两盒间的狭缝很小,带电粒子穿过狭缝的时间可以忽略不计,匀强磁场的磁感应强度大小为B、方向与盒面垂直粒子源S产生的粒子质量为m,电荷量为
,加速电压为U,下列说法正确的是( )

A.交变电压的周期等于粒子在磁场中回转周期的一半
B.加速电压U越大,粒子获得的最大动能越大
C.磁感应强度B越小,粒子获得的最大动能越大
D.D形盒半径R越大,粒子获得的最大动能越大
【答案】D
【详解】A.要想使粒子不断地在D形盒的缝隙中被同步加速,则交变电压的周期等于粒子在磁场中回转的周期,故A错误;
BCD.根据
粒子获得的最大动能为
所以粒子获得的最大动能与加速电压的大小无关,D形盒半径R越大,磁感应强度B越大,粒子获得的最大动能越大,故BC错误,D正确。
故选D。
18.(2022·上海·模拟预测)半导体掺杂是集成电路生产中最基础的工作,即通过离子注入的方式优化半导体,使半导体具有更加广泛的应用。如图所示为某种半导体掺杂工作的原理简化图。离子源可译放出无初速度且带正电的离子,离子由
点飘进加速电场,经电场加速后沿NO方向射入圆心为
、半径为
圆形匀强磁场区域。在距离
点下方
处放置一长为
的半导体,半导体垂直于
放置。已知M、N、O和半导体的中点
在同一直线上,加速电场电压为
,磁场磁感应强度为
、方向垂直于纸面。忽略离子重力,试分析下列问题:
(1)若某种粒子的比荷为
,求该粒子进入磁场时的速度
;
(2)若某种粒子的比荷为
,求该粒子在磁场中的轨迹半径
;
(3)若某粒子恰好打在半导体的边缘,求该粒子的比荷
。

【答案】(1)
,方向向下;(2)
;(3)
【详解】(1)由动能定理可知
代入数据解得
方向向下。
(2)由洛伦兹力提供向心力
代入数据解得
(3)设板边缘与圆心
的连线与
的夹角为
,由几何关系可知
可得
由轨迹关系可知,离子在磁场中运动偏转角也为
,
则由几何关系可知
代入数据可得
19.(23-24高二上·上海黄浦·期末)质谱仪示意图如图所示,一粒子束从两极板P1和P2的中心轴线水平入射,通过两极板中间区域后部分粒子能够从狭缝S0处射入质谱仪,最终分裂为a、b、c三束,分别运动到磁场边界的胶片上,它们的运动轨迹如图所示。已知极板P1和P2中间区域同时有电场强度大小为E的匀强电场和垂直纸面向里的匀强磁场,磁感应强度大小为B1,在狭缝S0右侧空间有垂直纸面向外,磁感应强度大小为B2的匀强磁场。不计粒子的重力。
(1)写出极板P1带电的电性;
(2)求能够进入狭缝S0的粒子的速度v;
(3)若某种通过狭缝S0的粒子,其质量为m,带电量为q,求该种粒子从狭缝S0处运动到胶片上所需的时间;
(4)若沿a、b、c轨迹运动的离子带电量相同,测得他们在胶片上成像处到S0的距离之比为2∶3∶4,求它们的质量之比。

【答案】(1)正电;(2)
;(3)
;(4)2∶3∶4
【详解】(1)由粒子在磁场中的运动轨迹可知,粒子带正电,则粒子在两板间运动时受洛伦兹力向上,电场力向下,则极板P1带正电;
(2)粒子在两板间做做匀速运动,则
解得能够进入狭缝S0的粒子的速度
(3)某种通过狭缝S0的粒子在磁场中运动的周期
则该种粒子从狭缝S0处运动到胶片上所需的时间
(4)沿a、b、c轨迹运动的离子带电量相同,测得他们在胶片上成像处到S0的距离之比为2∶3∶4,
则半径之比2∶3∶4,根据
可得
则它们的质量之比2∶3∶4。
(23-24高三上·上海浦东新·期末)质谱仪
质谱仪通常用作分离和检测物质组成,一般由加速电场、速度选择器、偏转磁场、质谱仪底片等组成。
如图甲所示,一束含有多种成份的带电粒子(其所受重力均可忽略),无初速从O点进入加速电场,此电场中有O、a、b三点,沿着水平方向(x轴)上该三点的电势φ变化如图乙所示,经电场加速后进入速度选择器,最后,部分粒子经半个圆周的偏转射到质谱仪底片上。通过计算机的处理,可分析粒子成份。

20.带电粒子的加速
(1)a、b两点的电场强度大小。
A.Ea>EbB.Ea<EbC.Ea=EbD.无法确定
(2)若某带电粒子的电荷量为q,质量为m。则经过加速电场后,粒子离开加速电场时的速度v=。(图中φ0已知)
21.速度选择器
速度选择器中有垂直于纸面向里的匀强磁场,其磁感应强度大小为B1,上下两极板之间的电势差为U,板间距为d,两板间可视为匀强电场。不考虑粒子的重力,经加速电场加速的粒子从极板的正中央进入速度选择器。
(1)若粒子能水平匀速通过速度选择器,则粒子的速度大小v′=。
(2)若粒子不能水平匀速通过速度选择器,则粒子(选填“会”或“不会”)在速度选择器中做匀变速曲线运动。
22.质谱仪检测
不同的带电粒子匀速通过速度选择器后就能进入磁感应强度为B2的匀强偏转磁场,磁场方向垂直于纸面向里。
(1)若某种粒子通过速度选择器后的速度为v0,电荷量为e,质量为m。通过推导,写出该粒子偏转到质谱仪底片上的坐标Y的表达式;
(2)实际上,加速电场的电势差是不稳定的,会在区间[φ0-ΔU,φ0+ΔU]内浮动。 现有某粒子和它的同位素,它们的电荷量相同,质量之比为1:2。调节速度选择器的参数,先后使这两个粒子匀速通过并进入偏转磁场发生偏转,为了不让这两个粒子落在底片上的位置重叠,通过计算,求出φ0:ΔU的取值范围。
【答案】20.C
21.
不会 22.(1)
;(2)
【解析】
20.(1)由于加速电场为匀强电场,而匀强电场中任意两点的场强均相同,可知a、b两点处的场强相等。
故选C。
(2)根据图乙可知加速电场两端的电势差
由动能定理有
解得
21.(1)若粒子能够水平匀速通过选择器,则粒子在选择器中所受电场力与洛伦兹力大小相等、方向相反,则有
解得
(2)若粒子不能水平匀速通过速度选择器,则粒子必然发生偏转,因此不管是因洛伦兹力大于电场力而发生偏转还是因为电场力大于洛伦兹力而发生偏转,都会因为速度方向发生改变而使洛伦兹力的方向始终发生改变,则合外力始终发生改变,因此粒子不会在速度选择器中做匀变速曲线运动。
22.(1)带电粒子以v0进入偏转磁场中,洛伦兹力提供向心力,则有
解得
所以坐标 
(2)若加速电场的电势差为φ0,粒子经加速电场加速后,由动能定理
进入偏转磁场后,洛伦兹力提供向心力
得到粒子的圆周运动的半径
可见,对于电荷量相同的两粒子,质量越大,回旋半径越大。
则可得粒子1的最大偏转直径
粒子2的最小偏转半径
要使底片上的落点不重叠,需满足
又
解得不等式 
1、本网站所提供的信息,只供教育教学参考之用。
2、本网站及其会员一概毋须以任何方式就任何信息传递或传送的失误、不准确或错误对用户或任何其他人士负任何直接或间接的责任。
3、在法律允许的范围内,本网站在此声明,不承担用户或任何人士就使用或未能使用本网站所提供的信息或任何链接或项目所引致的任何直接、间接、附带、从属、特殊、惩罚性或惩戒性的损害赔偿。
4、访问者在从事与本网站相关的所有行为(包括但不限于访问浏览、利用、转载、宣传介绍)时,必须以善意且谨慎的态度行事;访问者不得故意或者过失的损害本网站的各类合法权益,不得利用本网站以任何方式直接或者间接的从事违反中华人民共和国法律、国际公约以及社会公德的行为。对于访问者利用本网站提供的信息而作出的任何决策、决定以及其后果,本网站不承担任何责任
5、本网站图片,文字之类版权,本网站无法鉴别所上传图片或文字的知识版权,如果侵犯,请及时通知我们,本网站将在第一时间及时删除。
6、凡以任何方式登录本网站或直接、间接使用本网站资料者,视为自愿接受本网站声明的约束。
UePlus



