学科题库 0 views
学科题库 0 views
学科题库 0 views
次数 | 碰前滑块1的动量 | 碰后滑块1、2总动量 |
2 | 0.224 | 0.220 |
3 | 0.320 | 0.315 |
结合第一次碰撞数据,可得出的实验结论是。
(4)如图所示,若用水平长木板和小车1、2替代气垫导轨和滑块1、2完成本实验,为尽可能减少误差,下列做法合理的是___________。

A.采用宽度大一些的遮光条
B.适当增加小车1的弹射速度
C.选用表面平整一些的长木板
D.适当增加两个光电门之间的距离
...学科题库 0 views
学科题库 0 views
为验证碰撞中的动量是否守恒,某实验小组选取两个体积相同、质量不相等的小球,按下述步骤进行实验。
①用天平测出两小球的质量(分别为
和
,且
);
②按图安装好实验装置,将斜槽
固定在桌边,使斜槽末端切线水平,先不放小球
,让竖直挡板紧贴斜槽末端,再让小球
从斜糟顶端P处由静止释放,记下小球
在竖直挡板上的撞击位置O;
③将竖直挡板向右平移距斜槽末端一定距离,确保小球在碰撞前后均能撞击固定竖直挡板;
④先不放小球
,让小球
从斜槽顶端P处由静止释放,记下小球
撞击竖直挡板的位置;
⑤将小球
放在斜槽末端,再让小球
从斜槽顶端P处由静止释放,与
发生碰撞,分别记下小球
和
撞击竖直挡板的位置;
⑥图中A、B、C点是该实验小组记下的小球与竖直挡板撞击的位置,用毫米刻度尺量出各个撞击点到O的距离,分别为
、
、
。

根据该实验小组的测量,回答下列问题:
(1)小球
与
发生碰撞后,
撞击的是图中的点,
撞击的是图中的点(填字时A、B、C)。
(2)只要满足关系式(用
、
、
、
、
表示),则说明碰撞中的动量是守恒的。若测得
,则
。
学科题库 0 views
学科题库 0 views
如图所示,某实验小组用气垫导轨、小球和轻质细线做验证动量守恒定律的实验,轻质细线一端固定,另一端拴住小球,小球静止时恰与滑块在同一水平导轨上,且小球与导轨不接触。重力加速度大小为
,实验步骤如下:

(1)用天平测出滑块(含挡光片)的质量为
,小球的质量为
;
(2)用刻度尺测量悬点到小球球心的长度为
,用游标卡尺测出挡光片的宽度如图乙所示,则挡光片的宽度
cm;
(3)调节气垫导轨水平,给滑块一向右的瞬时速度,使滑块向右运动通过光电门,测出挡光时间为
;滑块与小球发生碰撞后反弹,再次通过光电门,测出挡光时间
和悬线偏离竖直方向的最大偏角
,则碰后小球的速度大小为(用
、
、
表示);若碰撞过程中系统动量守恒,则应满足的关系式为(用题给字母表示);
(4)若碰撞过程中系统动量、机械能都守恒,则需要满足表达式
成立。
学科题库 0 views
学科题库 0 views
1、本网站所提供的信息,只供教育教学参考之用。
2、本网站及其会员一概毋须以任何方式就任何信息传递或传送的失误、不准确或错误对用户或任何其他人士负任何直接或间接的责任。
3、在法律允许的范围内,本网站在此声明,不承担用户或任何人士就使用或未能使用本网站所提供的信息或任何链接或项目所引致的任何直接、间接、附带、从属、特殊、惩罚性或惩戒性的损害赔偿。
4、访问者在从事与本网站相关的所有行为(包括但不限于访问浏览、利用、转载、宣传介绍)时,必须以善意且谨慎的态度行事;访问者不得故意或者过失的损害本网站的各类合法权益,不得利用本网站以任何方式直接或者间接的从事违反中华人民共和国法律、国际公约以及社会公德的行为。对于访问者利用本网站提供的信息而作出的任何决策、决定以及其后果,本网站不承担任何责任
5、本网站图片,文字之类版权,本网站无法鉴别所上传图片或文字的知识版权,如果侵犯,请及时通知我们,本网站将在第一时间及时删除。
6、凡以任何方式登录本网站或直接、间接使用本网站资料者,视为自愿接受本网站声明的约束。
UePlus



、
;
,用天平测出滑块1与滑块2(包括撞针)的质量分别为
、
,碰撞后滑块1和滑块2的总动量大小
(结果均保留三位有效数字)

、
,且
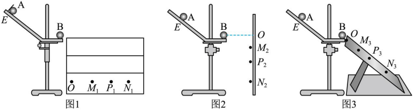
。实验时,接球板水平放置,让入射球A多次从斜轨上 E点静止释放,平均落点为
;再把被碰小球B静放在水平轨道末端,再将入射小球A,从斜轨上某一位置静止释放,与小球B相撞,并多次重复,分别记录两个小球碰后的平均落点
、
。
、
、
, 测出
、
、
长度分别为
、
、
, 若两球碰撞时动量守恒, 则满足的表达式为(用题中给定的物理量表示)。
、
、
,其中O点为斜槽末端与接球板的接触点,测出
、
、
长度分别为
、
、
,若两球碰撞时动量守恒,则满足的表达式为(用题中给定的物理量表示)。
的小球A和B,直尺以及细线等,已知重力加速度为
。
、
位置固定两枚钉子,钉子下面用长度相等的细线分别悬挂小球A和B。静止时,两小球刚好接触无弹力,用墨水笔在透明玻璃板的背面画上记号,记录下A、B两球的位置
和
(图中未画出);
位置,乙用墨水笔在玻璃板背面记下A球此时的位置
;
点,丙在玻璃板背面记下碰后B球到达的最高位置
点。
(选填“
”“
”或“
”)。
、
和
的长度,分别为
、
和
。已知
、
的长度均为
,则小球A与B碰前瞬间A的速度大小
(用
和
表示)。
成立,则表明碰撞前后系统的动量守恒。
成立,则表明碰撞前后系统的机械能守恒。

、
、
、
与小球在斜槽末端时球心的位置等高。关于此碰撞过程以下说法正确的是
,则动量守恒
,则动量守恒
,则机械能守恒
,则机械能守恒


,小球落地点的位置距O点的距离如图丙所示。利用图丙实验中测得的数据计算碰撞前的总动量p与碰撞后的总动量
的比值为(结果保留两位有效数字)