第六章 ·电磁感应定律
6.1 楞次定律(2)

课程标准 | 1.深化理解楞次定律在多个线圈、受力变化、圆盘转动等一些复杂场景下的应用。 2.能否分析解决电磁感应中的图像问题。 3.运用电磁感应的能量观点分析问题。 |
物理素养 | 物理观念:加深理解楞次定律反映能量守恒的观点。 科学思维:数形结合,分析图像问题的思维方法。 科学探究:探究多个线圈之间的电磁感应,为后续互感学习打下基础。 科学态度与责任:从简单到复杂,灵活运用物理规律解决实际问题。 |



一、磁场中物体受力变化问题
使用“来拒去留”的原理,定性分析电磁感应中导体的受力变化。
二、带电圆环和带电圆盘在磁场中的转动
(1)带电圆环转动等效于环形电流。
(2)圆环在磁场中转动等效于半径在切割磁感线。
(3)带电圆盘可理解为多个带电圆环的组合。
三、楞次定律是反映能量守恒
(1)从能量角度理解,楞次定律是反映机械能转化为电能,再转化为内能。
(2)导体棒切割磁感线需要克服安培力做功,等于在回路中产生的焦耳热。
(3)安培力对导体做负功,如无外力做功,导体的机械能减少。

题型01 多个线圈之间电磁感应
例1.(22-23高二下·上海黄浦·期中)如图所示,铁芯上绕有
和
两个线圈,铁芯左边挂一个轻小金属环,当电键S闭合时,
的两端点A、B电势
(选填“>”、“<”或“=”),小金属环将向运动,小磁针的S极将(选填“向左”、“向右”、“向里”、“向外”)转动。

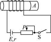
【答案】 < 左 向里
【详解】[1]闭合电键S闭合时,L1线圈通电,由右手螺旋定则可得电流I1产生的磁场方向向右穿过螺旋管,如图所示

线圈L2的磁通量向右增多,由楞次定律可得感应电流I2的方向,线圈L2内电流从A流向B,两端点A、B电势
小于
;
[2]穿过小金属环的磁通量向右增大,由楞次定律可得感应电流I3的方向,从而使得小金属环在原磁场中受安培力而阻碍磁通量的增多,故小金属环有缩小的趋势和向左摆动,故小金属环将向左运动;
[3]故在通电导线周围产生的磁场方向由右手螺旋定则可知为上方叉进下方点出,小磁针受磁力而转动N极指向来显示磁场方向,故N极向纸面外转,S极向纸面里转动。
题型02楞次定律分析受力变化
例2.(23-24高二下·上海黄浦·阶段练习)如图A,圆形线圈P静止在水平桌面上,其正上方悬挂一相同的线圈Q,P和Q共轴,Q中通有变化电流,电流随时间变化的规律如图B.所示,P所受的重力为G,桌面对P的支持力为FN,则( )
①t1时刻FN>G ②t2时刻FN>G ③t3时刻FN<G ④t4时刻FN=G
其中上面表述中,正确的是( )

A.①② B.①③C.①④ D②③④
【答案】C
【解析】只要电流变化,P和Q都是相互推斥,P对地面压力增大;电流不变时没有电磁感应,P对地面压力等于G,所以①④正确。
题型03圆环圆盘转动问题
例3. 如图所示,A为水平放置的胶木圆盘,在其侧面均匀分布着负电荷,在A的正上方用绝缘丝线悬挂一个金属圆环B,使B的环面水平,其轴线与胶木盘A的轴线OO'重合。现使胶木盘A由静止开始绕其轴线OO'沿箭头所示方向加速转动,则( )

A.金属环B的面积有扩大的趋势,丝线受到的拉力增大
B.金属环B的面积有缩小的趋势,丝线受到的拉力减小
C.金属环B的面积有扩大的趋势,丝线受到的拉力减小
D.金属环B的面积有缩小的趋势,丝线受到的拉力增大
【答案】B
【解析】“增缩减扩”。胶木盘A绕其轴线OO'沿箭头所示方向加速转动,形成环形电流并增大,根据右手螺旋定则知,通过金属圆环B的磁通量向下且增大,根据楞次定律可知,引起的感应电流阻碍磁通量的增大,知金属环B的面积有缩小的趋势,且有向上的运动趋势,所以丝线的拉力减小,B正确。
题型05 图像问题
例4.(2023·上海宝山·二模)如图甲所示,一竖直放置的载流长直导线和abcd矩形导线框固定在同一竖直平面内,线框在长直导线右侧,且其长边与长直导线平行。在t=0到t=t1时间内,长直导线中电流i随时间变化如图乙所示,图中箭头表示电流i的正方向。

(1)线框中感应电流的方向为。
A.逆时针 B.顺时针 C.先顺时针再逆时针 D.先逆时针再顺时针
(2)线框受到的安培力方向为。
A.水平向左 B.水平向右 C.先向左再向右 D.先向右再向左
【答案】 B C
【详解】[1]由于长直导线中的电流先向上减小后向下增大,根据右手螺旋定则可知,长直导线在右侧产生的磁场方向先垂直纸面向里后垂直纸面向外,穿过线框的磁通量先垂直纸面向里减少后垂直纸面向外增加,根据楞次定律可知,线圈中产生沿adcba顺时针方向的电流。
故选B。
[2]根据左手定则可知,线框ad边初始受到向左的安培力,bc边受到向右的安培力,又因为ad边离直导线较近,所以受到的安培力较大,线框受到的安培力的合力水平向左;之后直导线中的电流反向增大,线框ad边受到向右的安培力,bc边受到向左的安培力,ad边离直导线较近,所以受到的安培力较大,线框受到的安培力合力水平向右,故线框受到的安培力先水平向左,后水平向右。
故选C。
题型06 从能量角度理解楞次定律
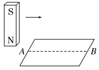
例5.如图所示,铜金属环从条形磁铁的正上方由静止开始下落,在下落过程中,下列判断正确的是( )

A.金属环在下落过程中的机械能守恒
B.金属环在下落过程中动能的增加量小于其重力势能的减少量
C.金属环的机械能先减小后增大
D.磁铁对桌面的压力等于其自身的重力
【答案】B
【解析】在金属环从静止下落的过程中,磁通量变大,出现感应电流,受到安培力,故除了重力做功外,还有安培力做负功,导致环的机械能在减少,即重力势能的减少量=动能增加量+焦耳热,故环下落过程中动能的增加量小于其重力势能的减少量,B正确,A、C错误。
在环从静止下落的过程中,受到向上的安培力,由作用力与反作用力关系可知环对磁铁有向下的作用力,使得磁铁对桌面的压力大于其自身的重力;在环落到磁铁中间的时刻感应电流为零,安培力为零,此时磁铁对桌面的压力等于其自身的重力,选项D错误。
1.(2023·上海静安·一模)如图,螺线管A竖直放置在水平桌面上,B为铁芯,C为套在铁芯B上的绝缘磁环。闭合电键,绝缘环C向上运动。C由静止开始上升至最高点的过程中,桌面对A的支持力大小( )

A.始终减小B.先增大后减小C.始终增大D.先减小后增大
【答案】B
【详解】闭合电键,绝缘环C向上运动。C由静止开始上升至最高点的过程中,闭合电键瞬间C中产生感应电流,受到的安培力先增大后减小,根据牛顿第三定律可知桌面对A的支持力大小先增大后减小。故选B。
2. 如图所示,一质量为m的条形磁铁用细线悬挂在天花板上,细线从一水平金属圆环中穿过.现将环从位置Ⅰ释放,环经过磁铁到达位置Ⅱ。设环经过磁铁上端和下端附近时细线的张力分别为T1和T2,重力加速度大小为g,则 ( )

A.T1>mg,T2>mgB.T1<<>mg,T2<<>mg
C.T1>mg,T2<<>mgD.T1<<>mg,T2>mg
【答案】A
【解析】来拒去留。环经过上端时,由于换和磁铁相互推斥,细绳拉力大于磁铁重力;
环经过下端时,相互吸引,细绳拉力也大于磁铁重力,A正确。(环下落加速度小于g)
3. 如图所示,绕在铁芯上的线圈与电源、滑动变阻器和开关组成闭合回路.在铁芯的右端套有一个表面绝缘的铜环A。不计铁芯和铜环A之间的摩擦,则下列情况中铜环A会向右运动的是( )

A.线圈中通以恒定的电流
B.通电时,使滑动变阻器的滑片P向右匀速移动
C.通电时,使滑动变阻器的滑片P向左加速移动
D.将开关突然断开的瞬间
【答案】C
【解析】电流恒定,在A中不产生感应电流,没有力的作用,不会运动,A错误;
滑片向右运动,电阻变大,电流变小,在A中产生相互吸引力,A向左移动,B错误;
滑片向左加速运动,电阻变小,电流变大,在A中产生推斥力,而且越来越大,大于摩擦力时,A向右移动,B错误;
断开瞬间,A中产生感应电流,但线圈中没有电流,因此没有力的作用,D错误。
4. 如图所示,粗糙水平桌面上有一质量为m的铜质矩形线圈.当一竖直放置的条形磁铁从线圈中线AB正上方等高从左到右快速经过时,若线圈始终不动,则关于线圈受到的支持力FN及在水平方向运动趋势的正确判断是( )

A.FN一直大于mg,运动趋势向左
B.FN一直小于mg,运动趋势先向左后向右
C.FN先大于mg后小于mg,运动趋势向右
D.FN先大于mg后小于mg,运动趋势先向右后向左
【答案】C
【解析】来拒去留,所以先排斥后吸引,所以压力先增大后减小,运动趋势一直向右,故C正确。
5.(22-23高二下·上海杨浦·期中)如图所示,cdef是一个单匝矩形线圈,ab是一根靠近矩形线圈的通电导线,位置靠近cd,若ab中的电流向上,电流大小突然减小时,cdef线圈受到的安培力的合力()

A.方向向左 B.方向向右 C.方向向上 D.为零
【答案】B
【详解】cdef线圈,ab是一根靠近矩形线圈的通电导线,导线中电流产生磁场,根据安培定则判断可知,线框左右两侧的磁场方向相反,线框左侧的磁通量小于右侧的磁通量。若ab中电流大小突然减小时,穿过线框的磁通量将减小,根据楞次定律可知,感应电流的磁场要阻碍磁通量的变化,则线框中感应电流方向为顺时针,再由左手定则可知,左边受到的安培力水平向右,而右边受到的安培力方向也水平向右,故安培力的合力向右。故选B。
6.(2023·上海松江·二模)如图,长直导线MN置于三角形金属线框ABC上,两者彼此绝缘,线框被导线分成面积相等的两部分,导线通入由M到N的电流,当电流增大时,关于线框的判断正确的是( )

A.磁通量的变化量为零 B.受到向右的安培力
C.产生顺时针方向的感应电流 D.两侧均有收缩的趋势
【答案】B
【详解】导线通入由M到N的电流,根据安培定则可知,MN左侧磁场方向向里,右侧磁场方向向外;虽然线框被导线分成面积相等的两部分,但左侧部分区域离导线比较近,所以左侧部分区域磁场比右侧部分区域磁场强,故线框的磁通量向里;当电流增大时,线框的磁通量向里增大,根据楞次定律可知,线框中产生逆时针方向的感应电流;结合左手定则可知,线框各部分所受安培力的合力水平向右,左侧有收缩趋势,右侧有扩张趋势。故选B。
7. 如图甲所示,两个闭合圆形线圈A、B的圆心重合,放在同一水平面内,线圈A中通以按如图乙所示规律变化的电流,t=0时电流方向为顺时针(如图中箭头所示)。在t1~t2时间内,对于线圈B,下列说法中正确的是( )

A.线圈B内有顺时针方向的电流,线圈有扩张的趋势
B.线圈B内有顺时针方向的电流,线圈有收缩的趋势
C.线圈B内有逆时针方向的电流,线圈有扩张的趋势
D.线圈B内有逆时针方向的电流,线圈有收缩的趋势
【答案】A
【解析】在t1~t2时间内,通入线圈A的电流沿逆时针方向且增大,其内部会产生增强的竖直向上的磁场,穿过B的磁通量增大,由楞次定律结合安培定则可判定线圈B中会产生顺时针方向的感应电流;
线圈B中电流的方向与A中的电流方向相反,有排斥作用,故线圈B有扩张的趋势,选项A正确。
8.(多选)如图所示,线圈M和线圈N绕在同一铁芯上.线圈M与电源、电键、滑动变阻器相连,P为滑动变阻器的滑动端,电键S处于闭合状态.线圈N与电阻R相连.下列说法正确的是( )

A.当P向右移动,通过R的电流为b到a
B.当P向右移动,通过R的电流为a到b
C.断开S的瞬间,通过R的电流为b到a
D.断开S的瞬间,通过R的电流为a到b
【答案】BC
【解析】A、当P白右移动,导致电流增大,根据右手螺旋定则可知,线圈M先是左端是S极,右端是N极。则线圈N方端是S极,右端是N极。导致向右穿过线圈N的磁通量变大,则由楞次定律可得: 感应电流方向由a流向b;故A错误,B正确;
C、当断开S的瞬间,导致电流减小,根据右手螺旋定则可知,线圈M先是左端是S极,右端是N极。则线圈N左端是S极,右端是N极。导致向右穿过线圈N的磁通量变小,则由楞次定律可得:感应电流方向由b流向a;故C正确,D错误。
9.(2023·上海浦东新·一模)虚线区域内有一垂直纸面向里的匀强磁场,当闭合线圈
由静止开始平移时,磁场对
边的安培力
方向如图所示。则线圈内磁通量变化及
边受到的安培力方向分别为( )

A.变大,向左 B.变大,向右 C.变小,向左 D.变小,向右
【答案】C
【详解】当闭合线圈
由静止开始平移时,磁场对
边的安培力
方向如图所示,可知线框面积有增大的趋势,阻碍磁通量减小,根据楞次定律可知,线圈内磁通量变小,则
边受到的安培力向左,使面积有增大趋势。故C正确ABD错误。
故选C。
10.(22-23高二上·上海长宁·期末)如图所示,a、b、c三个线圈是同心圆,b线圈上连接有直流电源和开关K,则下列说法正确的是( )

A.K闭合电路稳定后,在断开K的一瞬间,线圈c中有感应电流,线圈a中没有感应电流
B.K闭合电路稳定后,在断开K的一瞬间,线圈a中有感应电流,线圈c中没有感应电流
C.在K闭合的一瞬间,线圈a中有逆时针方向的瞬时电流,有扩张趋势
D.在K闭合的一瞬间,线圈c中有顺时针方向的瞬时电流,有收缩趋势
【答案】C
【详解】AB.在K闭合电路稳定后,再断开K的一瞬间,穿过线圈a、c中的磁通量均发生变化,均有感应电流产生,故AB错误;
CD.在K闭合的一瞬间,线圈b中有顺时针方向的瞬时电流,线圈a、c内磁场垂直纸面向里增大,根据楞次定律、右手螺旋定则和左手定则,可知线圈a、c中均有逆时针方向的瞬时电流,a有扩张的趋势,c有收缩的趋势,故C正确,D错误。
故选C。
11.(2022·上海闵行·一模)一圆形线圈与一均匀的扁平条形磁铁同在一平面内,磁铁中央与圆心O重合,为了在磁铁开始运动时在线圈中得到一方向如图所示的感应电流
,磁铁的运动方式应为( )

A.使磁铁在线圈平面内绕O点沿逆时针方向转动
B.使磁铁沿垂直于线圈平面的方向向纸外做平动
C.使磁铁沿垂直于线圈平面的方向向纸内做平动
D.N极向纸内,S极向纸外,使磁铁绕O点转动
【答案】D
【详解】A.使磁铁在线圈平面内绕O点沿逆时针方向转动,穿过线圈的磁通量保持不变为零,不会产生感应电流,故A错误;
BC.使磁铁沿垂直于线圈平面的方向向纸外或向内做平动时,穿过线圈的磁通量仍然保持不变为零,不会产生感应电流,故BC错误;
D.图示时刻穿过线圈的磁通量为零,当N极向纸内,S极向纸外,使磁铁绕O点转动时,使得穿过线圈的磁通量垂直纸面向里增大,根据楞次定律,可判断知在线圈中产生的感应电流为逆时针方向,故D正确。
故选D。
12.(2023·上海黄浦·一模)如图,弹簧上端固定,下端悬挂一个磁铁,磁铁的N极位于下端。在磁铁下端放一个固定的闭合金属圆环,将磁铁托起到某一高度后放开,发现磁铁很快地停下()

A.磁铁和弹簧组成的系统机械能守恒
B.该实验现象不符合能量守恒定律
C.若磁铁的S极向下,磁铁振动时间会变长
D.磁铁很快停下伴随着圆环中产生感应电流
【答案】D
【详解】AB.由楞次定律,线圈中产生感应电流,使磁铁始终受到阻碍,时而体现引力,时而体现斥力,导致电流做功,从而使系统的机械能转化为内能,导致磁铁和弹簧组成的系统的机械能减少,但这一过程同样符合能量的转化和守恒定律,即能的总量保持不变,AB错误;
C.根据楞次定律下面的线圈会阻碍磁铁运动,所以当磁铁向下靠近金属线圈时,线圈中产生了逆时针的感应电流(俯视),两者之间表现为相互排斥,同理当磁铁向上远离金属线圈时,根据楞次定律,可得线圈中产生了顺时针的感应电流(俯视),两者之间表现为相互吸引,因此与磁铁的磁极无关,C错误;
D.磁铁很快停下来的主要原因是圆环中产生了感应电流,D正确。
故选D。
13.如图所示,固定的水平长直导线MN中通有向右的恒定电流I,矩形线框ABCD在导线MN的正下方且与MN处于同一竖直平面内。线框ABCD在外力F作用下以恒定的速度竖直向上运动,且运动过程中AB边始终平行于MN,则在AB边运动到MN所在位置之前的过程中,下列说法正确的是( )

A.穿过线框的磁通量保持不变
B.线框中感应电流的方向为A→B→C→D→A
C.线框所受安培力的合力方向向下
D.外力F所做的功等于线框增加的机械能
【答案】C
【解析】离直导线越近,磁感应强度越强,磁通量逐渐增大,选项A错误;
根据右手螺旋定则知感应电流的方向为A→D→C→B→A,选项B错误;
根据左手定则知AB边所受的安培力方向向下,CD边所受的安培力方向向上,因为AB边所处位置的磁感应强度大,则安培力大,所以线框所受安培力的合力方向向下,选项C正确;
线框匀速向上运动,线框中产生电能,F做的功会有一部分产生热量,故外力F所做的功大于线框增加的机械能,选项D错误。
14.(23-24高二上·上海黄浦·期末)汽车上装有的磁性转速表的内部简化结构如图所示,转轴I可沿图示方向双向旋转,永久磁体同步旋转。铝盘、游丝和指针固定在转轴II上,铝盘靠近永久磁体,当转轴I以一定的转速旋转时,指针指示的转角大小即反映转轴I的转速。下列说法正确的是()

A.永久磁体匀速转动时,铝盘中不会产生感应电流
B.零刻度线应标在刻度盘的a端
C.由楞次定律描述的“阻碍”效果可知,永久磁体的转动方向与指针偏转方向总是相反
D.永久磁体逆时针(从左向右看)转动,若转速增大,则指针向逆时针方向偏角变大
【答案】D
【详解】A.永久磁体匀速转动时,铝盘切割磁感线,会产生感应电流,选项A错误;
B.由游丝的旋转方向可知,零刻度线应标在刻度盘的b端,选项B错误;
C.由楞次定律描述的“阻碍”效果可知,永久磁体的转动方向与指针偏转方向总是相同的,选项C错误;
D.永久磁体逆时针(从左向右看)转动,若转速增大,则磁铁对磁盘的作用力方向也为逆时针方向,且随转速的增大而增加,则指针向逆时针方向偏角变大,选项D正确。
故选D。
15.(23-24高二上·上海黄浦·阶段练习)在有界匀强磁场中水平放置相互平行的金属导轨,导轨电阻不计,导轨与金属杆ab接触良好。磁感线垂直导轨平面向上(俯视图),导轨与处于磁场外的大线圈M相接,欲使小闭合线圈N产生顺时针方向的感应电流,下列做法可行的是( )

A.ab匀速向右运动 B.ab加速向右运动
C.ab加速向左运动 D.ab减速向左运动
【答案】C
【详解】A.当ab匀速向右运动,匀速向右切割磁感线,在M中产生顺时针的恒定感应电流,形成的磁场恒定,不会在N中产生感应电流,A错误;
B.当ab加速向右运动时,形成顺时针的感应电流增大,由安培定则可知在M中形成垂直于纸面向里的磁场增大,由楞次定律及安培定则可知,N中会产生逆时针的感应电流,B错误;
C.当ab加速向左运动时,形成逆时针的感应电流增大,由安培定则可知在M中形成垂直于纸面向外的磁场增大,由楞次定律及安培定则可知,N中会产生顺时针的感应电流,C正确;
D.当ab减速向左运动时,形成逆时针的感应电流减小,由安培定则可知在M中形成垂直于纸面向外的磁场减小,由楞次定律及安培定则可知,N中会产生逆时针的感应电流,D错误。
故选C。
16.(23-24高二下·上海黄浦·阶段练习)(多选)如图所示装置中,线圈
和
缠绕在硅钢片制成的铁芯上,两导体杆分别放在如图所示的磁场中。导体杆
原来静止。当导体杆
做如下哪些运动时,
杆将向右移动( )

A.向右匀速运动 B.向右加速运动
C.向左加速运动 D.向左减速运动
【答案】BD
【详解】A.
匀速运动时,
中感应电流恒定,
中磁通量不变,穿过
的磁通量不变,
中无感应电流产生,
保持静止,A错误;
B.
向右加速运动时,
和
棒构成的回路中有顺时针方向增大的电流,铁芯中有逆时针方向增大的磁场,
和
棒构成的回路中有从c到d的感应电流,由左手定则可知,
棒向右移动,B项正确;
C.
向左加速运动时,
和
棒构成的回路中有逆时针方向增大的电流,铁芯中有顺时针方向增大的磁场,
和
棒构成的回路中有从d到c的感应电流,由左手定则可知,
棒向左移动,故C错误;
D.
向左减速运动时,
和
棒构成的回路中有逆时针方向减小的电流,铁芯中有顺时针方向减小的磁场,
和
棒构成的回路中有从c到d的感应电流,由左手定则可知,
棒向右移动,故D正确。
故选BD。
17.(22-23高三下·上海杨浦·阶段练习)如图,矩形abcd为匀强磁场区域,磁场方向竖直向下,圆形闭合金属线圈以一定的速度沿光滑绝缘水平面向磁场区域运动。下图是线圈的四个可能到达的位置,则线圈的速度不可能为零的位置是( )
A.
B.
C.
D.
【答案】B
【详解】ACD.线圈进或出磁场时,磁通量变化,线圈中会产生感应电流,线圈受到安培阻力作用而减速运动,速度可能为零,故ACD错误.
B.线圈完全进入磁场后,磁通量不变,没有感应电流产生,不再受安培力,线圈的速度不变,所以B图中线圈速度不可能为零,故B正确。
故选B。
(23-24高二下·上海宝山·阶段练习)楞次定律
楞次定律是由俄国物理学家海因里希·楞次在1834年发现的,楞次定律解释了磁场的变化是如何受到阻碍的。
18.图中,a、b都是很轻的铝环,环a是闭合的,环b是不闭合的。a、b环都固定在一根可以绕O点自由转动的水平细杆上,开始时整个装置静止。

(1)当条形磁铁N极垂直a环靠近a时,a环将;
(2)当条形磁铁N极垂直b环靠近b时,b环将。
(以上均填“A靠近磁铁”、“B远离磁铁”或“C静止不动”)
19.如图所示,当导线ab在电阻不计的金属导轨上滑动时,线圈c向右摆动,则ab的运动情况是( )

A.向左或向右匀速运动 B.向左或向右减速运动
C.向左或向右加速运动 D.只能向右匀加速运动
20.如图所示,铁芯上绕有
和
两个线圈,铁芯左边悬挂一个轻小金属环,当电键S闭合时:

(1)小金属环将(选填“A向左”或“B向右”或“C不动”)运动;
(2)从上往下看导线AB下方的小磁针将作(选填“A顺时针”或“B逆时针”或“C不动”)转动。
21.竖直放置的圆形线圈,自上而下匀速掠过通有稳恒电流I的长直导线,导线中电流方向如图所示。当线圈经过图中Ⅰ、Ⅱ、Ⅲ三个位置时,线圈中感应电流是逆时针的位置是( )

A.Ⅰ B.Ⅱ C.Ⅲ D.Ⅰ和Ⅱ
22.如图,线圈A和电流计相连,线圈B和电源、开关连成一闭合电路。线圈A和线圈B绕在同一个竖直铁芯上。下列说法正确的是( )

A.闭合和断开开关的瞬间,通过电流计的电流方向相同
B.断开开关的瞬间,线圈A、B相互排斥
C.闭合开关的瞬间,通过电流计的电流方向为从上向下
D.保持开关闭合,电流计指针偏转到某一位置,并保持不变
23.如图,在“研究电磁感应现象”的实验中,若a处的导线断路,则以下说法正确的是( )

A.有电磁感应现象,无感应电流 B.有电磁感应现象,无感应电动势
C.无电磁感应现象,无感应电流 D.不能用楞次定律判断感应电动势方向
【答案】18.B C 19.B 20.A A 21.B 22.C 23.A
【解析】18.(1)[1]当条形磁铁N极垂直a环靠近a时,a环内磁通量发生变化,产生的感应电流的磁场总是阻碍二者间的相对运动,将远离磁铁;
(2)[2]当条形磁铁N极垂直b环靠近b时,b环不闭合,不产生感应电流,将静止不动。
19.要使金属环c向线圈运动,由楞次定律可得金属环c中的磁通量必定减少,由此判定螺线管的感应电流减小,而螺线管的感应电流是由于ab导线做切割磁感线运动产生的,所以导线的运动将越来越慢,即做向左或右减速运动。故选B。
20.
(1)[1]闭合电键时,L1线圈通电,由右手螺旋定则可得电流I1产生的磁场方向向右穿过螺旋管,如图所示,穿过小金属环的磁通量向右增大,由楞次定律可得感应电流I3的方向,从而使得小金属环在原磁场中受安培力而阻碍磁通量的增大,故小金属环有缩小的趋势和向左摆动,故选A。
(2)[2]线圈L2的磁通量向右增多,由楞次定律可得感应电流I2的方向,根据右手螺旋定则可知,AB上方磁场垂直纸面向里,下方磁场垂直纸面向外,N极向纸面外转,S极向纸面里转动,则从上往下看小磁针顺时针转动,故选A。
21.由安培定则得,载有恒定电流的直导线产生的磁场在导线上边的方向为垂直纸面向外,下边的磁场方向垂直纸面向里,当线圈向导线靠近时,则穿过线圈的磁通量变大,根据楞次定律,可知:感应电流方向为顺时针,那么I处电流为顺时针,从线圈越过导线到线圈中心轴与导线重合,穿过线圈的磁通量的变小,则感应电流方向为逆时针,那么I和II处电流为逆时针,当远离导线时,由楞次定律可知,感应电流方向为顺时针,那么III处电流为顺时针。
故选B。
22.AC.闭合开关的瞬间,通过A线圈的磁通量向下增大,根据楞次定律,通过电流计的感应电流方向向下,断开开关的瞬间,通过A线圈的磁通量向下减小,根据楞次定律,通过电流计的感应电流方向向上,故A错误,C正确;
B.断开开关的瞬间,通过A、B线圈的磁通量均减小,根据楞次定律,线圈A、B产生的感应电流方向相同,两线圈相互吸引,故B错误;
D.保持开关闭合,电流计指针偏转到某一位置,并保持不变,通过A线圈的磁通量不变,不产生感应电流,没有电流通过电流计。
故选C。
23.ABC.若a处的导线断路,穿过线圈的磁通量发生变化,有电磁感应现象,线圈会产生感应电动势,
但不会产生感应电流,故A正确,BC错误;
D.线圈产生感应电动势,应用楞次定律可以判断感应电动势的方向,故D错误。
故选A。
1、本网站所提供的信息,只供教育教学参考之用。
2、本网站及其会员一概毋须以任何方式就任何信息传递或传送的失误、不准确或错误对用户或任何其他人士负任何直接或间接的责任。
3、在法律允许的范围内,本网站在此声明,不承担用户或任何人士就使用或未能使用本网站所提供的信息或任何链接或项目所引致的任何直接、间接、附带、从属、特殊、惩罚性或惩戒性的损害赔偿。
4、访问者在从事与本网站相关的所有行为(包括但不限于访问浏览、利用、转载、宣传介绍)时,必须以善意且谨慎的态度行事;访问者不得故意或者过失的损害本网站的各类合法权益,不得利用本网站以任何方式直接或者间接的从事违反中华人民共和国法律、国际公约以及社会公德的行为。对于访问者利用本网站提供的信息而作出的任何决策、决定以及其后果,本网站不承担任何责任
5、本网站图片,文字之类版权,本网站无法鉴别所上传图片或文字的知识版权,如果侵犯,请及时通知我们,本网站将在第一时间及时删除。
6、凡以任何方式登录本网站或直接、间接使用本网站资料者,视为自愿接受本网站声明的约束。
UePlus
